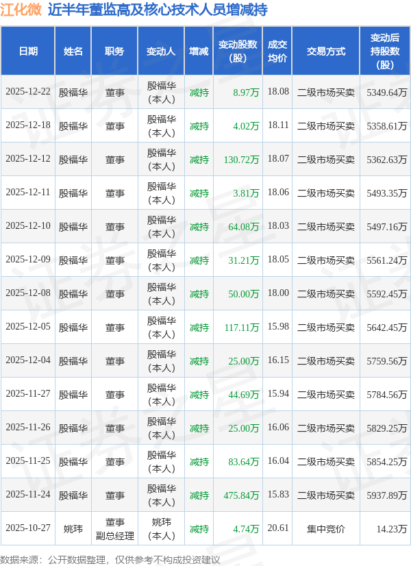
证券之星消息,根据12月23日市场公开信息、上市公司公告及交易所披露数据整理,江化微(603078)最新董监高及相关人员股份变动情况:2025年12月22日公司董事殷福华共减持公司股份8.97万股,占公司总股本为0.0233%。变动期间公司股价上涨1.52%,12月22日当日收盘报17.99元。
江化微近半年内的董监高及核心技术人员增减持详情如下:

江化微的高管列表及最新持股情况如下:

融资融券数据显示该股近5日融资净流出166.2万,融资余额减少;融券净流入1.17万,融券余额增加。
该股最近90天内共有2家机构给出评级,增持评级2家。
以上内容为证券之星据公开信息整理,由AI算法生成(网信算备310104345710301240019号),不构成投资建议。
