首页 - 股票 - 数据解析 - 开庭公告 - 正文

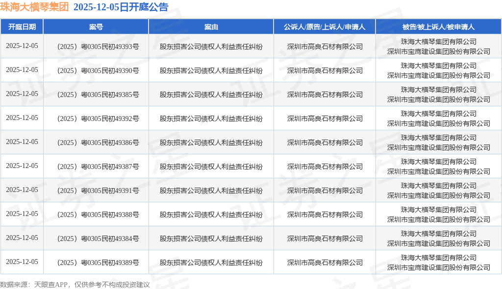
珠海大横琴集团作为被告/被上诉人的10起涉及股东损害公司债权人利益责任纠纷的诉讼将于2025年12月5日开庭

来源:证星公司动态 2025-12-02 21:58:44
关注证券之星官方微博:

证券之星消息,根据天眼查APP显示,近日公布了10则珠海大横琴集团有限公司作为被告/被上诉人的开庭公告,案由为股东损害公司债权人利益责任纠纷,开庭日期为2025年12月5日。详细内容如下:

图片

数据来源:天眼查APP

以上内容为证券之星据公开信息整理,由AI算法生成(网信算备310104345710301240019号),不构成投资建议。

微信
扫描二维码
关注
证券之星微信
APP下载
广告
下载证券之星
郑重声明:以上内容与证券之星立场无关。证券之星发布此内容的目的在于传播更多信息,证券之星对其观点、判断保持中立,不保证该内容(包括但不限于文字、数据及图表)全部或者部分内容的准确性、真实性、完整性、有效性、及时性、原创性等。相关内容不对各位读者构成任何投资建议,据此操作,风险自担。股市有风险,投资需谨慎。如对该内容存在异议,或发现违法及不良信息,请发送邮件至jubao@stockstar.com,我们将安排核实处理。如该文标记为算法生成,算法公示请见 网信算备310104345710301240019号。
网站导航 | 公司简介 | 法律声明 | 诚聘英才 | 征稿启事 | 联系我们 | 广告服务 | 举报专区
欢迎访问证券之星!请点此与我们联系 版权所有: Copyright © 1996-