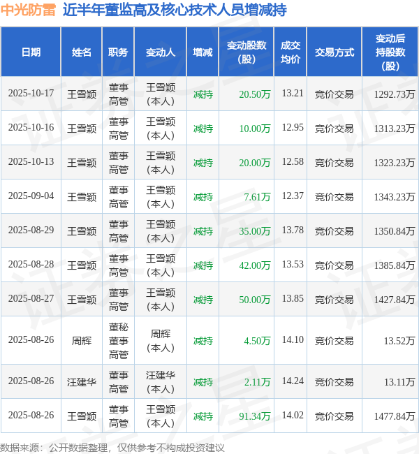
证券之星消息,根据10月20日市场公开信息、上市公司公告及交易所披露数据整理,中光防雷(300414)最新董监高及相关人员股份变动情况:2025年10月17日公司董事,高管王雪颖共减持公司股份20.5万股,占公司总股本为0.0629%。变动期间公司股价上涨3.53%,10月17日当日收盘报13.2元。
中光防雷近半年内的董监高及核心技术人员增减持详情如下:

中光防雷的高管列表及最新持股情况如下:

融资融券数据显示该股近5日融资净流入1171.51万,融资余额增加;融券净流入9900.0,融券余额增加。
该股最近90天内无机构评级。
以上内容为证券之星据公开信息整理,由AI算法生成(网信算备310104345710301240019号),不构成投资建议。
