证券之星消息,根据9月23日市场公开信息、上市公司公告及交易所披露数据整理,华胜天成(600410)最新董监高及相关人员股份变动情况:2025年9月22日公司董事王维航、监事钱继英共减持公司股份261.5万股,占公司总股本为0.2385%。变动期间公司股价下跌4.09%,9月22日当日收盘报21.34元。
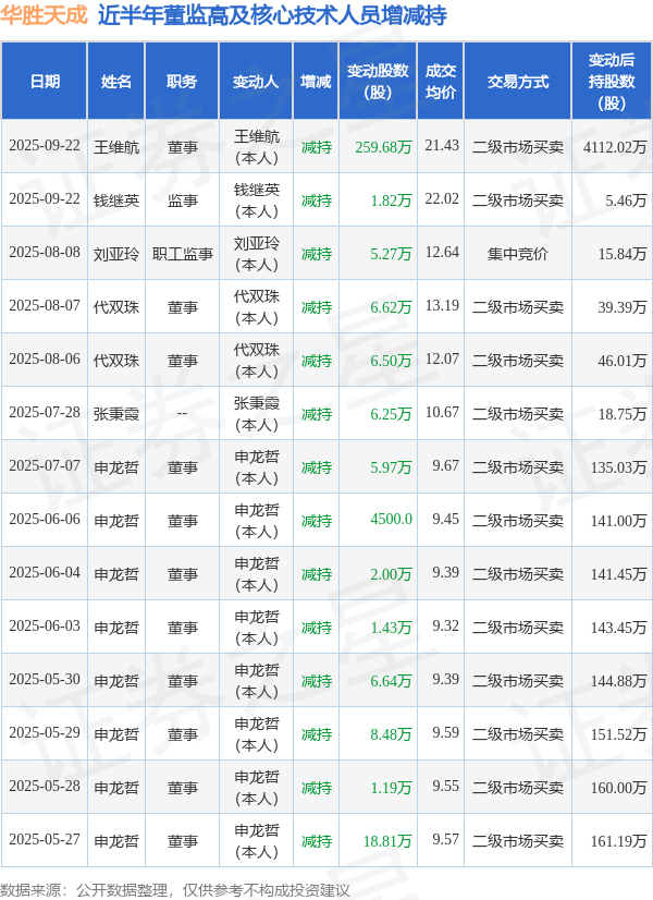
华胜天成近半年内的董监高及核心技术人员增减持详情如下:

华胜天成的高管列表及最新持股情况如下:

融资融券数据显示该股近5日融资净流入2.02亿,融资余额增加;融券净流入0.0,融券余额增加。
该股最近90天内共有1家机构给出评级,买入评级1家。
以上内容为证券之星据公开信息整理,由AI算法生成(网信算备310104345710301240019号),不构成投资建议。










