证券之星消息,根据市场公开信息整理,交大铁发(920027)于12月26日将有381.8万股限售股份解禁,为公司公开发行战略配售股份,占公司总股本4.82%。(本次数据根据历史公告整理得出,实际情况以上市公司最新公告为准)最近一年内,该股累计解禁1210.75万股,占总股本的15.29%。本次解禁后,公司还有3700.0万股限售股份,占总股本46.72%。具体如下图所示:

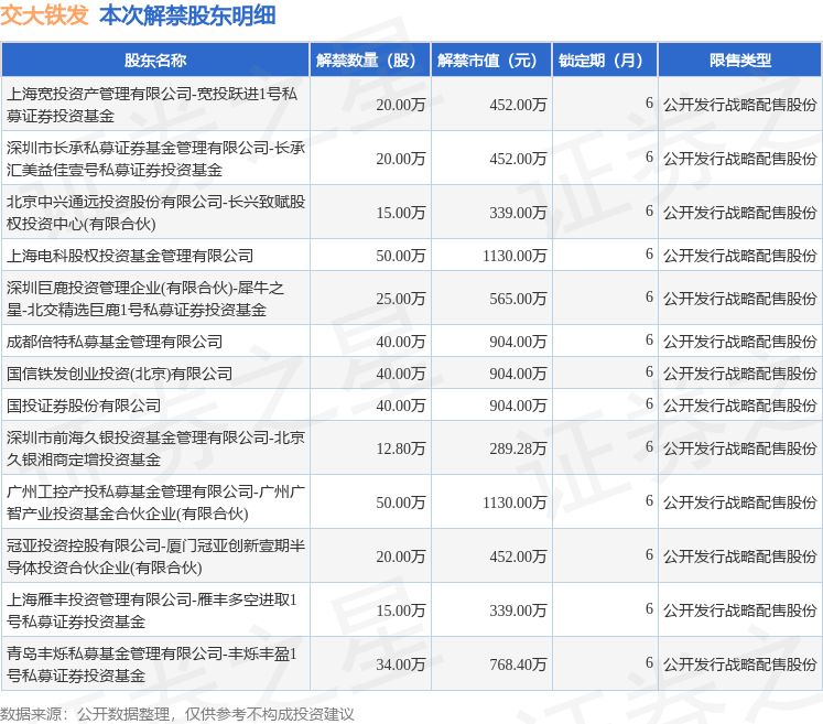
本次解禁涉及股东明细见下表:

交大铁发财务数据及主营业务:
交大铁发2025年三季报显示,前三季度公司主营收入1.85亿元,同比上升19.99%;归母净利润1034.67万元,同比下降11.51%;扣非净利润919.84万元,同比下降11.65%;其中2025年第三季度,公司单季度主营收入4966.99万元,同比上升5.32%;单季度归母净利润-224.37万元,同比下降13528.35%;单季度扣非净利润-239.06万元,同比下降1197.67%;负债率44.77%,投资收益26.77万元,财务费用108.77万元,毛利率34.49%。
交大铁发(920027)主营业务:专业从事轨道交通智能产品及装备的研发、生产、销售,并提供专业技术服务。
以上内容为证券之星据公开信息整理,由AI算法生成(网信算备310104345710301240019号),不构成投资建议。
