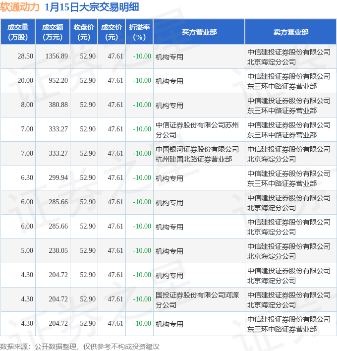
证券之星消息,1月15日软通动力发生大宗交易,交易数据如下:

近三个月该股共发生23笔大宗交易,合计成交2.87万手,折价成交22笔。该股在过去半年内已有共计1.03亿股限售解禁股上市,占公司总股本的10.79%。
截至2026年1月15日收盘,软通动力(301236)报收于52.9元,下跌1.91%,换手率4.7%,成交量36.8万手,成交额19.69亿元。
该股近半年内有股东持股变动,合计净减持305.04万股,股东增减持明细如下表:

该股最近90天内共有6家机构给出评级,买入评级6家;过去90天内机构目标均价为66.93。
以上内容为证券之星据公开信息整理,由AI算法生成(网信算备310104345710301240019号),不构成投资建议。
