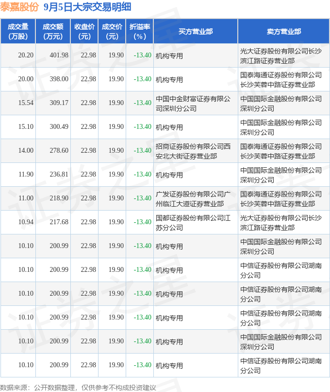
证券之星消息,9月5日泰嘉股份发生大宗交易,交易数据如下:

近三个月该股共发生66笔大宗交易,合计成交9.28万手,折价成交66笔。该股近期无解禁股上市。
截至2025年9月5日收盘,泰嘉股份(002843)报收于22.98元,上涨3.93%,换手率3.8%,成交量9.53万手,成交额2.15亿元。
该股近半年内有股东持股变动,合计净减持210.94万股,股东增减持明细如下表:

该股最近90天内无机构评级。
以上内容为证券之星据公开信息整理,由AI算法生成(网信算备310104345710301240019号),不构成投资建议。










