(原标题:【全网最全】2025年传媒行业上市公司全方位对比(附业务布局汇总、业绩对比、业务规划等))
行业主要上市公司:蓝色光标(300058.SZ)、利欧股份(002131.SZ)、三七互娱(002555.SZ)、浙文互联(600986.SH)、省广集团(002400.SZ)、芒果超媒(300413.SZ)、凤凰传媒(601928.SH)、中南传媒(601098.SH)、浙版传媒(601921.SH)、皖新传媒(601801.SH)、世纪华通(002602.SZ)、山东出版(601019.SH)、新华文轩(601811.SH)、中文传媒(600373.SH)、万达电影(002739.SZ)、天龙集团(300063.SZ)、中原传媒(000719.SZ)、分众传媒(002027.SZ)、华数传媒(000156.SZ)、南方传媒(601900.SH)、长江传媒(600757.SH)、中国出版(601949.SH)等
本文核心数据:传媒业务收入
1、传媒行业上市公司汇总
目前,我国以传媒相关行业为主营业务的上市企业较多,传媒产业链上下游均较为庞大。其中主要有蓝色光标、利欧股份、三七互娱、浙文互联、省广集团、芒果超媒等上市企业。










从代表性企业分布情况来看,我国传媒代表企业分布在北京、上海、浙江、广东等省市,总体来看企业主要集中于东南区域。

2、传媒行业上市公司基本信息对比
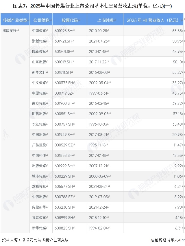
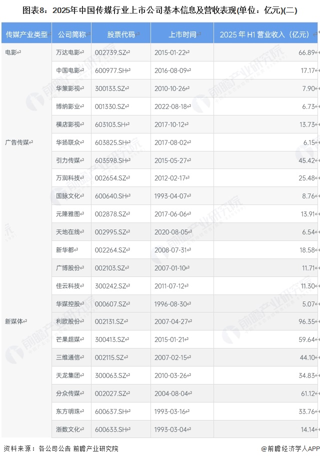
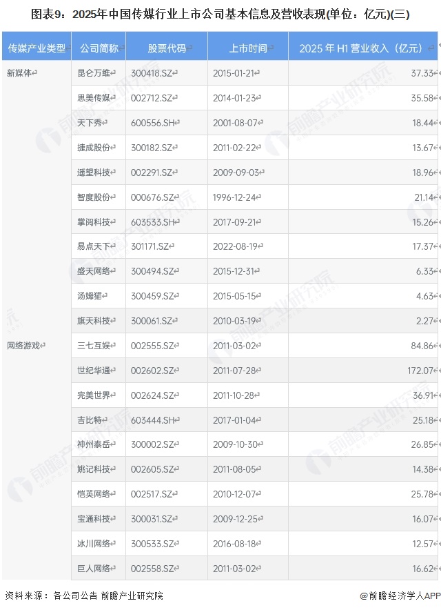
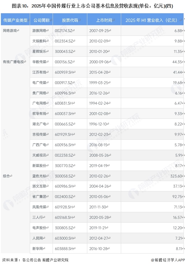
从传媒行业的上市企业布局和已有公开信息分析,注册资本最多的是利欧股份,同时,皖新传媒招投标信息最多;省广集团成立时间最早。

3、传媒行业企业业务布局对比
从传媒生产代表企业业务布局来看,各企业涵盖产品均较为广泛。

4、传媒行业企业业务业绩对比
目前,我国传媒行业的头部上市公司是蓝色光标、利欧股份、三七互娱等,2024年全年三家企业传媒业务收入均超过170亿元。2024年,三七互娱产品销售毛利率最高,达78.63%。

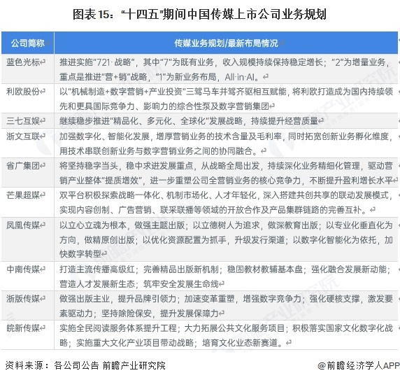
5、传媒行业企业业务规划对比
“十四五”期间,传媒代表性企业在年报中披露其公司战略、经营规划等,其具体业务规划如下:

更多本行业研究分析详见前瞻产业研究院《中国传媒行业市场前瞻与投资战略规划分析报告》
