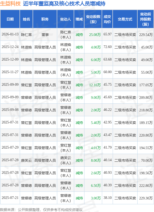
证券之星消息,根据1月15日市场公开信息、上市公司公告及交易所披露数据整理,生益科技(600183)最新董监高及相关人员股份变动情况:2026年1月13日公司董事陈仁喜共减持公司股份25.08万股,占公司总股本为0.0103%。变动期间公司股价下跌3.04%,1月13日当日收盘报66.0元。
生益科技近半年内的董监高及核心技术人员增减持详情如下:

生益科技的高管列表及最新持股情况如下:

融资融券数据显示该股近5日融资净流出6350.93万,融资余额减少;融券净流入3.81万,融券余额增加。
该股最近90天内共有12家机构给出评级,买入评级11家,增持评级1家;过去90天内机构目标均价为66.03。
以上内容为证券之星据公开信息整理,由AI算法生成(网信算备310104345710301240019号),不构成投资建议。
