证券之星消息,根据市场公开信息整理,圣达生物(603079)于12月25日将有1784.07万股限售股份解禁,为公司定向增发机构配售股份,占公司总股本9.44%。(本次数据根据历史公告整理得出,实际情况以上市公司最新公告为准)本次解禁后,公司已无限售股份。具体如下图所示:

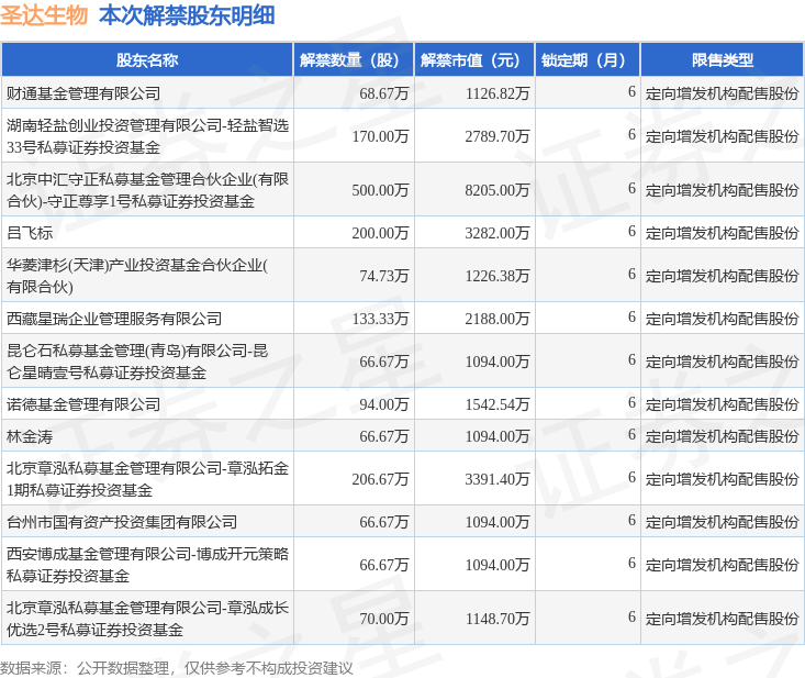
本次解禁涉及股东明细见下表:

圣达生物财务数据及主营业务:
圣达生物2025年三季报显示,前三季度公司主营收入6.21亿元,同比上升2.04%;归母净利润5333.86万元,同比上升146.04%;扣非净利润4748.77万元,同比上升393.96%;其中2025年第三季度,公司单季度主营收入2.21亿元,同比下降1.71%;单季度归母净利润1553.32万元,同比上升199.63%;单季度扣非净利润1242.89万元,同比上升178.52%;负债率25.26%,投资收益132.56万元,财务费用-501.61万元,毛利率26.03%。
圣达生物(603079)主营业务:长期致力于维生素、生物保鲜剂、食品添加剂和饲料添加剂的研发、生产和销售,并涉足功能配料领域。
以上内容为证券之星据公开信息整理,由AI算法生成(网信算备310104345710301240019号),不构成投资建议。
