证券之星消息,根据12月23日市场公开信息、上市公司公告及交易所披露数据整理,智微智能(001339)最新董监高及相关人员股份变动情况:2025年12月22日公司董事郭旭辉共减持公司股份24.0万股,占公司总股本为0.0952%。变动期间公司股价上涨0.56%,12月22日当日收盘报48.28元。
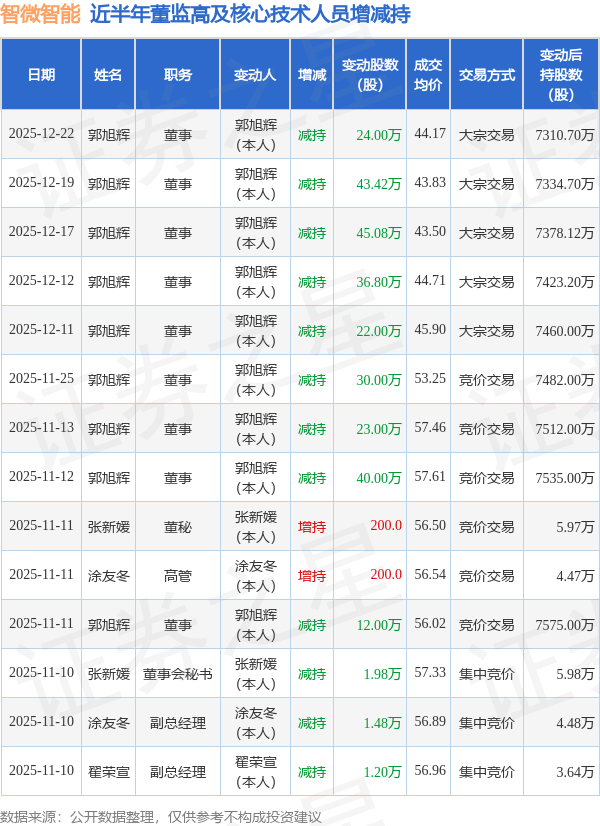
智微智能近半年内的董监高及核心技术人员增减持详情如下:

智微智能的高管列表及最新持股情况如下:

该股最近90天内共有4家机构给出评级,买入评级4家;过去90天内机构目标均价为66.81。
以上内容为证券之星据公开信息整理,由AI算法生成(网信算备310104345710301240019号),不构成投资建议。
