证券之星消息,根据12月22日市场公开信息、上市公司公告及交易所披露数据整理,华建集团(600629)最新董监高及相关人员股份变动情况:2025年12月19日公司高级管理人员疏正宏共减持公司股份2.0万股,占公司总股本为0.0021%。变动期间公司股价上涨1.53%,12月19日当日收盘报18.55元。
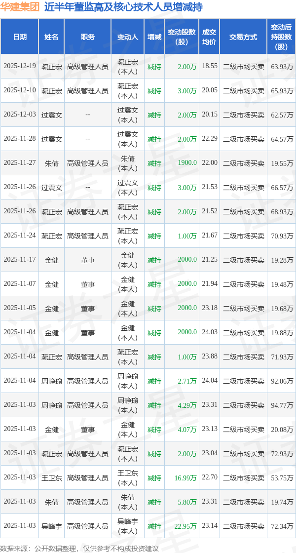
华建集团近半年内的董监高及核心技术人员增减持详情如下:

华建集团的高管列表及最新持股情况如下:

该股最近90天内共有1家机构给出评级,买入评级1家。
以上内容为证券之星据公开信息整理,由AI算法生成(网信算备310104345710301240019号),不构成投资建议。
