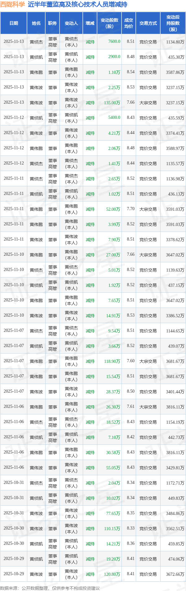
证券之星消息,根据11月14日市场公开信息、上市公司公告及交易所披露数据整理,西陇科学(002584)最新董监高及相关人员股份变动情况:2025年11月13日公司董事,高管黄侦凯、董事,高管黄侦杰、董事黄伟波、董事黄伟鹏共减持公司股份139.4万股,占公司总股本为0.2382%。变动期间公司股价上涨2.12%,11月13日当日收盘报8.69元。
西陇科学近半年内的董监高及核心技术人员增减持详情如下:

西陇科学的高管列表及最新持股情况如下:

该股最近90天内无机构评级。
以上内容为证券之星据公开信息整理,由AI算法生成(网信算备310104345710301240019号),不构成投资建议。










