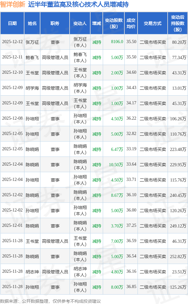
证券之星消息,根据12月15日市场公开信息、上市公司公告及交易所披露数据整理,智洋创新(688191)最新董监高及相关人员股份变动情况:2025年12月12日公司董事张万征共减持公司股份8106.0股,占公司总股本为0.0035%。变动期间公司股价下跌1.08%,12月12日当日收盘报34.94元。
智洋创新近半年内的董监高及核心技术人员增减持详情如下:

智洋创新的高管列表及最新持股情况如下:

融资融券数据显示该股近5日融资净流出1496.49万,融资余额减少;融券净流入0.0,融券余额增加。
该股最近90天内共有3家机构给出评级,买入评级3家;过去90天内机构目标均价为55.54。
以上内容为证券之星据公开信息整理,由AI算法生成(网信算备310104345710301240019号),不构成投资建议。
