证券之星消息,根据10月14日市场公开信息、上市公司公告及交易所披露数据整理,厦门银行(601187)最新董监高及相关人员股份变动情况:2025年10月13日公司高级管理人员庄海波共增持公司股份1.96万股,占公司总股本为0.0008%。变动期间公司股价上涨1.42%,10月13日当日收盘报6.43元。
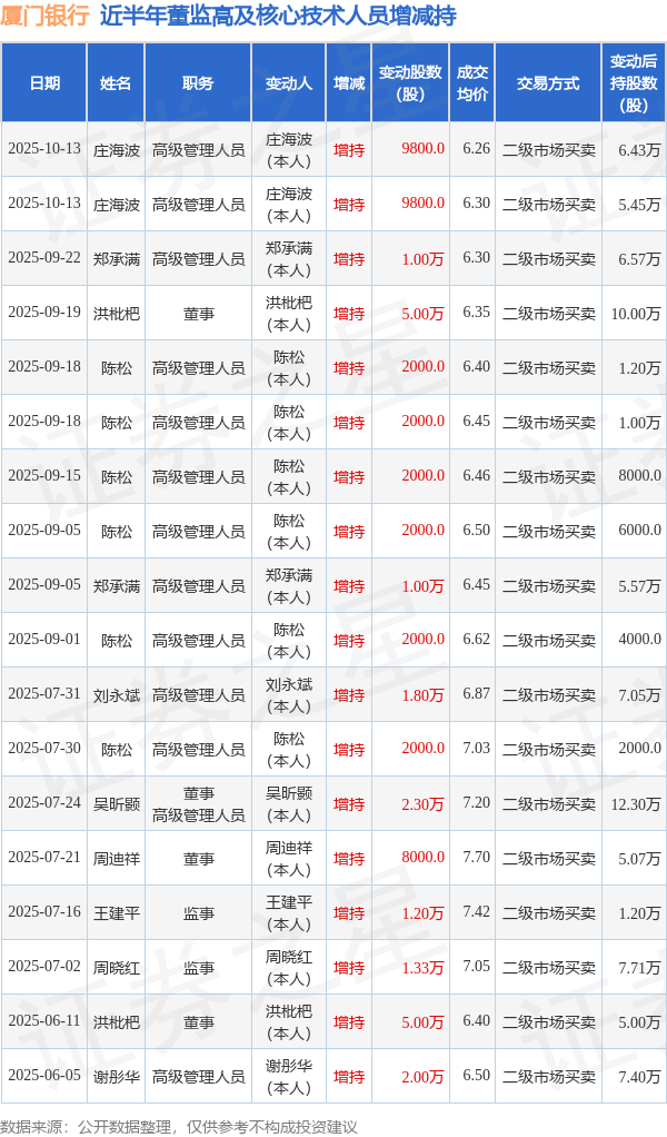
厦门银行近半年内的董监高及核心技术人员增减持详情如下:

厦门银行的高管列表及最新持股情况如下:

该股最近90天内共有1家机构给出评级,买入评级1家。
以上内容为证券之星据公开信息整理,由AI算法生成(网信算备310104345710301240019号),不构成投资建议。
