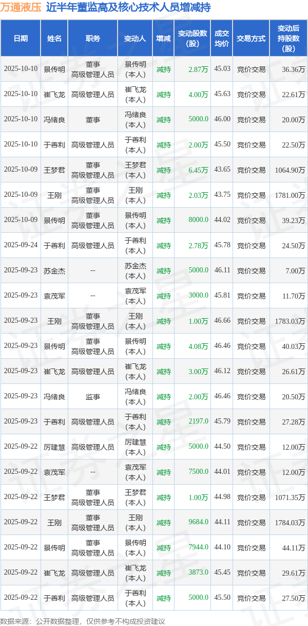
证券之星消息,根据10月11日市场公开信息、上市公司公告及交易所披露数据整理,万通液压(920839)最新董监高及相关人员股份变动情况:2025年10月10日公司董事,高级管理人员景传明、董事冯绪良、高级管理人员于善利、高级管理人员崔飞龙共减持公司股份9.37万股,占公司总股本为0.0787%。变动期间公司股价上涨0.36%,10月10日当日收盘报44.01元。
万通液压近半年内的董监高及核心技术人员增减持详情如下:

万通液压的高管列表及最新持股情况如下:

该股最近90天内无机构评级。
以上内容为证券之星据公开信息整理,由AI算法生成(网信算备310104345710301240019号),不构成投资建议。
