证券之星消息,根据9月26日市场公开信息、上市公司公告及交易所披露数据整理,富信科技(688662)最新董监高及相关人员股份变动情况:2025年9月25日至2025年9月26日公司董事,高级管理人员,核心技术人员刘富林共减持公司股份6.8万股,占公司总股本为0.077%。变动期间公司股价下跌6.16%,9月26日当日收盘报49.5元。
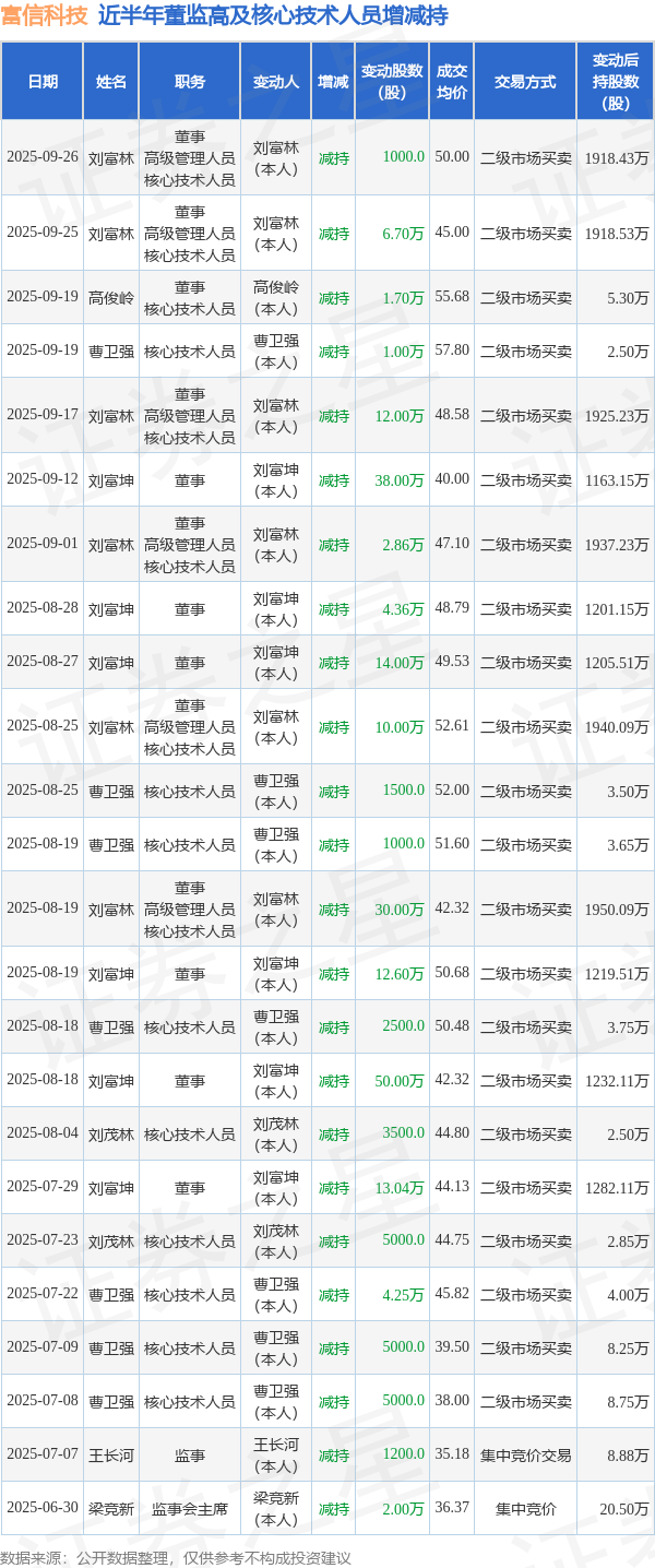
富信科技近半年内的董监高及核心技术人员增减持详情如下:

富信科技的高管列表及最新持股情况如下:

融资融券数据显示该股近5日融资净流入3745.07万,融资余额增加;融券净流入0.0,融券余额增加。
该股最近90天内共有1家机构给出评级,增持评级1家;过去90天内机构目标均价为39.36。
以上内容为证券之星据公开信息整理,由AI算法生成(网信算备310104345710301240019号),不构成投资建议。










