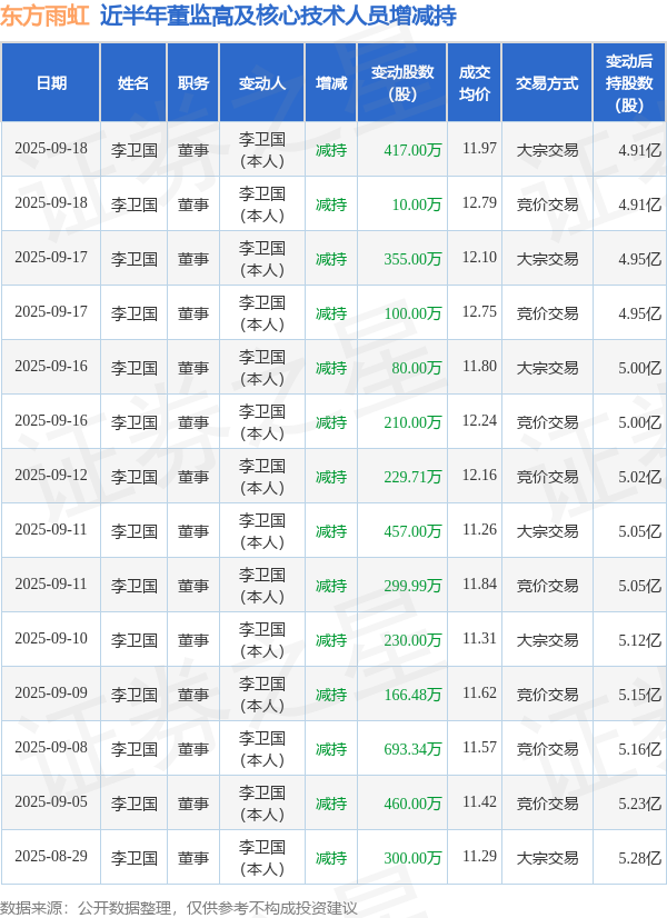
证券之星消息,根据9月19日市场公开信息、上市公司公告及交易所披露数据整理,东方雨虹(002271)最新董监高及相关人员股份变动情况:2025年9月18日公司董事李卫国共减持公司股份427.0万股,占公司总股本为0.1788%。变动期间公司股价下跌1.1%,9月18日当日收盘报12.6元。
东方雨虹近半年内的董监高及核心技术人员增减持详情如下:

东方雨虹的高管列表及最新持股情况如下:

融资融券数据显示该股近5日融资净流出9775.41万,融资余额减少;融券净流入1200.0,融券余额增加。
该股最近90天内共有20家机构给出评级,买入评级16家,增持评级4家;过去90天内机构目标均价为14.02。
以上内容为证券之星据公开信息整理,由AI算法生成(网信算备310104345710301240019号),不构成投资建议。










