(原标题:【投资视角】启示2025:中国全屋智能行业投融资分析(附定向增发、对外投资、投融资事件等))
以下数据及分析来自于前瞻产业研究院全屋智能研究小组发布的《中国全屋智能行业市场前瞻与投资战略规划分析报告》。
行业主要上市公司:华域汽车(600741.SH);富维股份(600742.SH);天成自控(603085.SH);继峰股份(603997.SH);双林股份(300100.SZ);上海沿浦(605128.SH);双英股份(837677.NQ)。
本文核心数据:中国全屋智能行业融资整体情况;中国全屋智能行业投融资单笔融资情况
1、代表性企业对外投资情况主要产业链延伸、技术服务
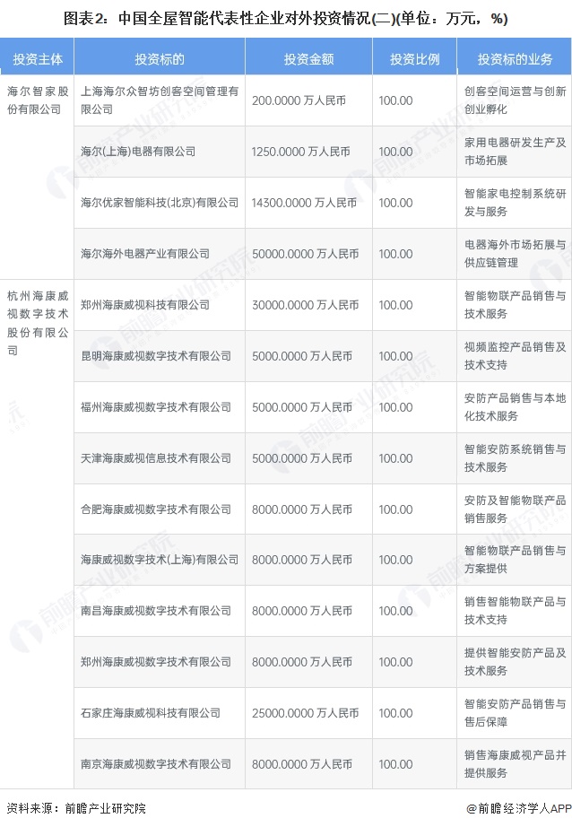
从中国全屋智能代表性企业的对外投资来看,全屋智能企业对外投资的企业数量较多,多以设立子公司进行产业链延伸、技术服务为主。




从几家代表性企业的对外投资来看,中国全屋智能行业代表性企业的对外投资主要围绕产业链延伸、技术服务、国际化布局、市场拓展、生产制造及技术研发等方向展开。例如,石头科技注重产业链延伸和技术服务,海尔智家聚焦国际化与技术型投资,海康威视重点进行市场拓展,格力电器和长虹美菱则分别在产业链、生产制造及技术研发方面进行投资布局,整体呈现出多元化、专业化和协同发展的投资特征。

2、全屋智能行业投融资事件主要为A轮融资
截至2025年10月,中国全屋智能行业融资事件较多,融资企业的业务种类多样,包括家居电器智能化等技术研发,截至2025年中国全屋智能行业投融资事件汇总如下:


从中国全屋智能行业投融资事件轮次分布情况来看,根据汇总的融资事件情况来看,天使轮/种子轮融资事件数量占比29.6%,Pre-A轮/A轮/A+轮事件数量占比约40.6%,Pre-B轮/B轮/B+轮事件数量占比约13.2%,战略投资事件数量占比约9.5%。整体来看,大多数企业的融资轮次在Pre-A轮/A轮/A+轮事件。反映全屋智能行业处于融资成长期。

根据IT桔子数据库,我国全屋智能行业相关企业投融资数量先增长后下降趋势,2016年投融资数量较高,达到221件。从金额来看,2018年和2021年的融资金额出现高峰,融资金额分别为392.86亿元和367.75亿元。2024年全年,全屋智能融资事件为51件,融资金额41.98亿元。2025年1-10月,全屋智能融资事件数量分别为30件和17.29亿元。

3、全屋智能行业兼并重组事件
中国全屋智能行业整体兼并重组事件主要分为纵向并购和横向并购,纵向并购主要是产业链下游企业对智能家居企业的收购,横向并购主要包括是智能家居企业扩大产品类型的相关收购,截至2025年中国全屋智能行业兼并与重组事件如下所示:

4、全屋智能行业投融资总结

更多本行业研究分析详见前瞻产业研究院《中国全屋智能行业市场前瞻与投资战略规划分析报告》
