证券之星消息,根据天眼查APP显示,近日公布了一则中国华西企业有限公司作为被告/被上诉人的开庭公告,详细内容如下:
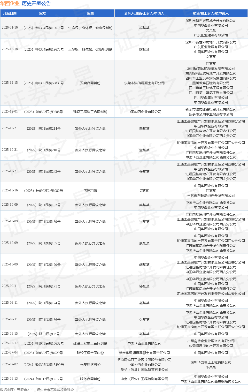
案号:(2025)粤0304民初19673号根据统计,近一年内以中国华西企业有限公司为当事人的历史开庭公告有30则,其中案由为“案外人执行异议之诉”的公告以11则居首,其次为“建设工程合同纠纷”有5则,“建设工程施工合同纠纷”有3则。历史开庭公告(前20条)如下:

数据来源:天眼查APP
以上内容为证券之星据公开信息整理,由AI算法生成(网信算备310104345710301240019号),不构成投资建议。
