(原标题:【投资视角】启示2025:中国水力发电行业投融资及兼并重组分析(附投融资汇总、兼并重组等))
行业主要上市公司:长江电力(600900)、华能水电(600025)、湖南发展(000722)、闽东电力(000993)、黔源电力(002039)、三峡水利(600116)、桂冠电力(600236)、桂东电力(600310)、西昌电力(600505)、郴电国际(600969)、湖北能源(000883)等
本文核心数据:投融资及兼并重组事件
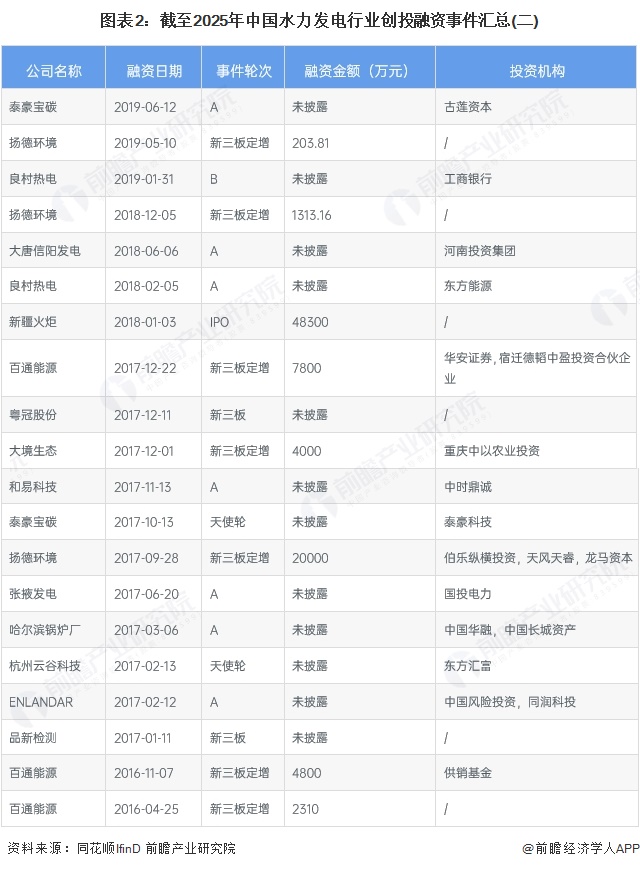
1、中国水力发电行业创投融资事件汇总
创投融资投资方主要为专业的投资机构。截至2025年,中国水力发电行业创投融资事件主要集中在A轮和新三板,具体总结如下表所示:



2、中国水力发电行业上市企业股权融资以定向增发为主
从中国代表性上市企业的股权融资情况来看,融资事件类型主要包括IPO、定向增发、配股、可交换债及可转债的发行。从股权融资事件数量和金额来看,长江电力均位居首位,从规模来看,长江电力股权募资规模已超过1000亿元。


从代表上市公司的股权融资事件类型来看,根据不同事件类型的融资总金额分布情况,定向增发事件的占比最大,接近75%;可交换债发行额的募资总额占比13%。

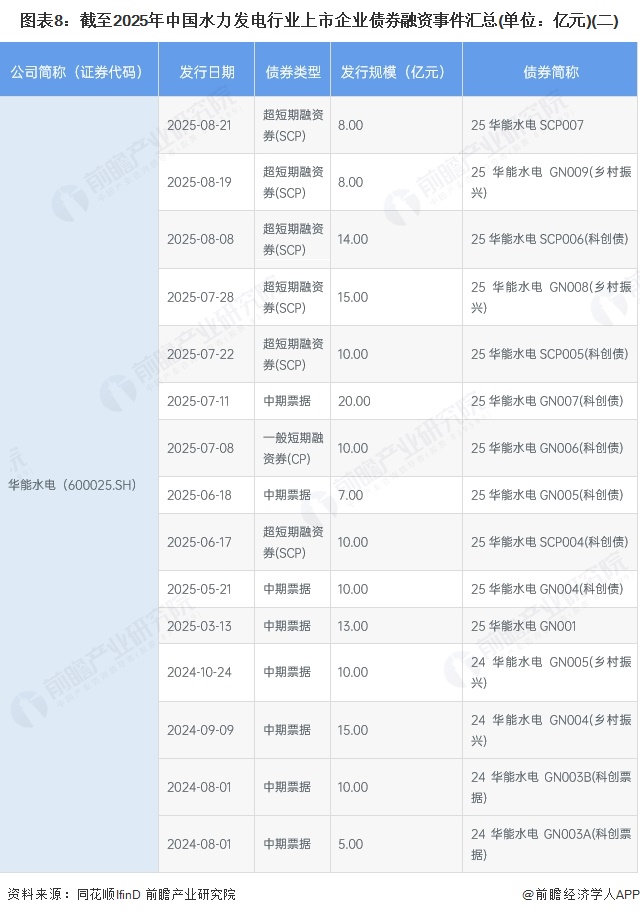
3、中国水力发电行业上市企业债券融资以中期票据和公司债为主
相较于股权融资事件,水力发电行业债券融资事件数量更多。根据过去五年统计的行业上市企业债券融资事件情况,债券类型主要包括短期融资券、公司债、中期票据、非公开定向债务融资工具(PPN)等。从企业的债券融资数量和金额来看,长江电力的融资规模遥遥领先。据统计,过去五年长江电力的债券融资金额超过380亿元。




从代表上市公司的债券融资事件类型来看,根据过去五年不同债券类型的总金额分布情况,中期票据和公司债的占比最大,分别为50%和26%;短期融资券占比约19%。

4、中国水力发电行业兼并重组的主要目的为横向整合
从产业链情况来看,水力发电行业上游主要包括工程咨询、原材料与设备供应商,中游主要是水力发电项目建设和运营,下游主要涉及售电主体和电力用户。中游企业兼并重组的主要目的为横向整合以扩大市场规模。同时,随着新能源技术的不断完善以及政策的扶持,中游企业从单一水电扩展到水风光储并举、多能互补、构建水风光储一体化发展格局已成为趋势,未来以多样化业务为目的的兼并重组事件将会增加。



5、中国水力发电行业投融资及兼并重组总结

更多本行业研究分析详见前瞻产业研究院《中国水力发电行业市场前瞻与投资战略规划分析报告》










