证券之星消息,根据天眼查APP显示,近日公布了一则福建七匹狼实业股份有限公司作为原告/上诉人的开庭公告,详细内容如下:
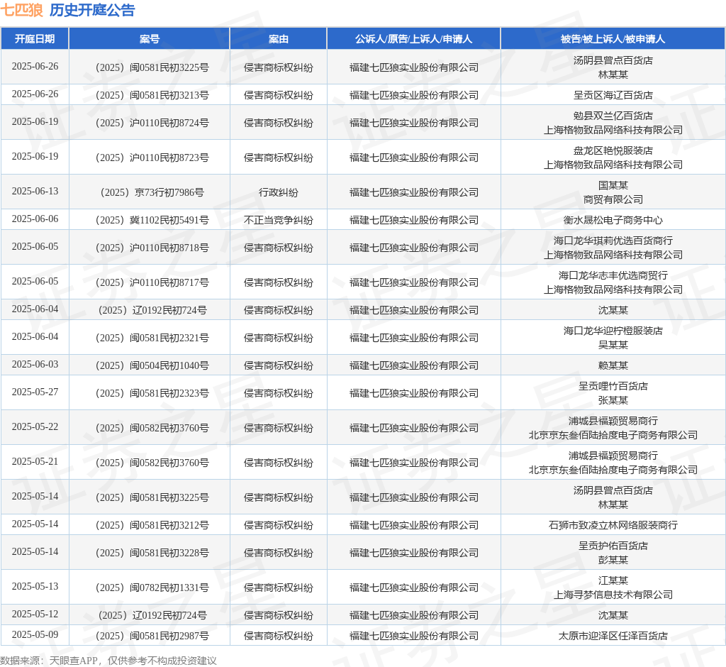
案号:(2025)闽0582民初3760号根据统计,近一年内以福建七匹狼实业股份有限公司为当事人的历史开庭公告有225则,其中案由为“侵害商标权纠纷”的公告以206则居首,其次为“不正当竞争纠纷”有12则,“其他不正当竞争纠纷”有2则。历史开庭公告(前20条)如下:

数据来源:天眼查APP
以上内容为证券之星据公开信息整理,由AI算法生成(网信算备310104345710301240019号),不构成投资建议。
